
欧莱新材涨停,派瑞股份涨超13%,澜起科技涨超5%,中芯国际涨超4%。
举报 第一财经广告合作,请点击这里此内容为第一财经原创,著作权归第一财经所有。未经第一财经书面授权,不得以任何方式加以使用,包括转载、摘编、复制或建立镜像。第一财经保留追究侵权者法律责任的权利。如需获得授权请联系第一财经版权部:banquan@yicai.com 相关阅读
新疆克孜勒苏州阿图什市发生3.1级地震新疆克孜勒苏州阿图什市发生3.1级地震
54 04-13 13:17
2026春节档预售票房破2亿2026春节档预售票房破2亿
26 02-13 16:19
湖南白银今日涨停,4家机构专用席位净买入3.85亿元湖南白银今日涨停,4家机构专用席位净买入3.85亿元
01-22 16:39
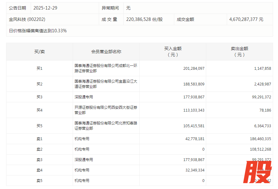
金风科技今日涨停 四机构净卖出3.74亿元金风科技今日涨停 四机构净卖出3.74亿元
16 2025-12-29 17:28
航天发展今日涨停 3家机构专用席位净卖出超3亿元航天发展今日涨停 3家机构专用席位净卖出超3亿元
2025-12-29 17:24 一财最热 点击关闭高升网配资提示:文章来自网络,不代表本站观点。